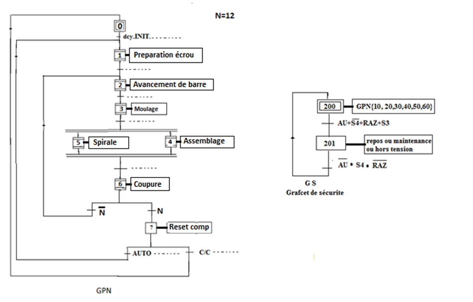
I- Système automatisée de fabrication de vis en plastique
Objectif est de fabrication des vis d’une façon continu




















Modifié le: dimanche 10 mars 2024, 08:38
Objectif est de fabrication des vis d’une façon continu



















